STA-AM30X 레이저 거리 측정 모듈은 TOF(Time-of-Flight) 기술을 활용하여 10미터에서 4000미터까지 정확한 거리 측정을 달성합니다. 1Hz~10Hz 범위의 주파수를 지원하며 UART(TTL 3.3V) 통신 인터페이스가 특징입니다. 단발 거리 측정, 연속 거리 측정, 첫 번째/마지막 대상 인식, 다중 대상 거리 측정 등의 기능이 있어 고정밀 거리 측정 용도에 적합합니다.
| 프로젝트 | 성과 지표 | |
| 모델 | STA-AM30X | |
| 성과 지표 | 레이저 파장 | 1535±5nm |
| 눈 안전 | 클래스 Ⅰ(IEC 60825-1) | |
| 발산 각도 | ≤0.6mrad | |
| 레이저 에너지 | ≥100μJ | |
| 시야(FOV) | ~ 7. 4mrad | |
| 최대 측정 범위(가시성 > 8km) | ≥ 4000m @60% 반사율, 건물 대상 | |
| ≥3000m @30% 반사율, 2.3×2.3m 타겟 | ||
| ≥1500m @30% 반사율, 0.5×1.7m 타겟 | ||
| ≥800m @30% 반사율, 0.2×0.3m 표적 | ||
| 최소 범위 | 10m 이하 | |
| 범위 주파수 | 1Hz~10Hz | |
| 다중 표적 탐지 | 최대 3개 대상 | |
| 범위 정확도 | ±1m | |
| 정확도 | ≥98% | |
| 허위 경보 비율 | 1% 이하 | |
| 전기 사양 | 인터페이스 유형 | UART(TTL 3.3V) |
| 전원 전압 | DC 3~5V | |
| 대기 전력 소비(전체 온도 범위) | ≤10mW(낮게 풀링된 전원) | |
| ≤0.8W(전원을 높게 끌어올림) | ||
| 작동 전력 소비(전체 온도 범위) | 5V.≤0.9W@1Hz | |
| 5V, <1. 5W@10Hz | ||
| 최고 전력 소비 | <3W@5V | |
| 시작 시간 | 350ms 이하(시작 후 응답 시간 20ms 이하) | |
| 물리적 특성 | 무게 | ≤ 141g |
| 치수 | ≤ 27×25×15.5mm(L×W×H) | |
| 충격 | 1200g, 1ms | |
| 진동 | 5~50~5Hz, 1옥타브/분, 2.5g | |
| 환경 적응성 | 작동 온도 | -40 ~ +70℃ |
| 보관 온도 | -45 ~ +70℃ | |
| 신뢰할 수 있음 | MTBF>1500시간 | |
일반적인 결함 증상 및 문제 해결 방법
설치 다이어그램:
인터페이스 유형: UART(TTL 3.3V)
커넥터 모델: FWF08002-S06B13W5M(Tesga 커넥터)
| 핀 | 정의 | 설명 | |
| 1 | POWER_ON | 모듈 전원 스위치, TTL 3.3V 레벨, 모듈 켜짐(>2.7V), 모듈 꺼짐(<0.3V) | |
| 2 | UART_RX | 직렬 포트 수신기, TTL 3.3V 레벨 | |
| 3 | UART_TX | 직렬 포트 송신기, TTL 3.3V 레벨 | |
| 4 | NC | ||
| 5 | 파워 포지티브 | 전원 공급 장치, 3~5V | |
| 6 | 접지 | 직렬 포트 접지 |
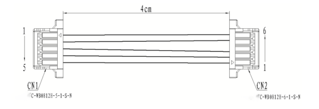
케이블 정의:
일치하는 케이블 핀아웃:
| CN1(C-WBO812H-5-1-S-N) | CN2(C-WBO812H-6-1-S-N) | 케이블 사양 | 색상 |
| 1 | 6 | AWG32 | 검은색 |
| 2 | 5 | AWG32 | 빨간색 |
| 3 | 3 | AWG32 | 노란색 |
| 4 | 2 | AWG32 | 녹색 |
| 5 | 1 | AWG32 | 하얀색 |
1 프로토콜 설명
1.1 통신 속도 및 형식
| 형식 표준 | 전송 속도: 115200bps(공장 기본값) / 57600bps / 38400bps / 9600bps바이트 데이터 형식: 1 시작 비트, 8 데이터 비트, 1 정지 비트, 검증 없음 |
1.2 기본 패킷 형식
| 섹션 설명 | 섹션 길이(바이트 수) | 값 범위 | 비고 |
| 프레임 헤더 | 2 | 0xEE 0x16 | 고정값 |
| 데이터 길이 | 1 | 2~7 | 데이터 길이는 장치 코드, 명령 코드, 명령 매개변수 세 부분의 총 바이트 수입니다. |
| 장비 코드 | 1 | 0x03 | 고정 값, LRF S 시리즈 거리 측정 모듈 |
| 명령 코드 | 1 | 0~255 | 현재 제어 명령의 제어 대상을 나타냅니다. |
| 명령 매개변수 | 0~4 | 0~255 | 현재 제어 명령의 제어 개체 매개변수를 나타냅니다. |
| 체크섬 | 1 | 0~255 | 체크섬은 장비 코드, 명령 코드, 명령 매개변수의 세 부분에 있는 모든 바이트 데이터의 합계이며 하위 8비트는 다음과 같습니다. |
1.3 제어 명령(시스템→범위 모듈)
| 명령 코드 | 설명하다 | 명령 매개변수 바이트 |
| 0x01 | 장비 자체 점검 | 0 |
| 0x02 | 단일 범위 | 0 |
| 0xA8 | 첫 번째/마지막/여러 대상 설정 | 1 |
| 0x04 | 연속 범위 지정 | 0 |
| 0x05 | 범위 지정 중지 | 0 |
| 0xA0 | 레이저 거리 측정 모듈의 전송 속도 설정 | 4 |
| 0xA1 | 연속 범위 주파수 설정 | 2 |
| 0xA2 | 최소 게이팅 거리 설정 | 2 |
| 0xA3 | 최소 게이팅 거리 쿼리 | 0 |
| 0xA4 | 최대 게이팅 거리 | 2 |
| 0xA5 | 최대 게이팅 거리 쿼리 | 0 |
| 0xA6 | FPGA 소프트웨어 버전 번호 쿼리 | 0 |
| 0xA7 | MCU 소프트웨어 버전 번호 쿼리 | 0 |
| 0xA8 | 하드웨어 버전 번호 쿼리 | 0 |
| 0xA9 | Sn 번호 쿼리 | 0 |
| 0x90 | 총 조명 출력 시간 | 0 |
| 0x91 | 이번에는 전원이 켜진 시간과 꺼진 시간을 쿼리합니다. | 0 |
1.4 응답 데이터(범위 지정 모듈)→체계)
| 명령 코드 | 설명하다 | 명령 매개변수 바이트 |
| 0x01 | 장비 자체 점검 | 4 |
| 0x02 | 단일 범위 | 7 |
| 0xA8 | 첫 번째/마지막/여러 대상 설정 | 0 |
| 0x04 | 연속 범위 지정 | 4 |
| 0x05 | 범위 지정 중지 | 0 |
| 0x06 | 레인징 이상(레인징 이상 명령의 상태가 비정상인 경우에만 단일 레인징 또는 연속 레인징의 응답 명령을 반환한 후 명령을 반환함) | 4 |
| 0xA0 | 레이저 거리 측정 모듈의 전송 속도 설정 | 4 |
| 0xA1 | 연속 범위 주파수 설정 | 2 |
| 0xA2 | 최소 게이팅 거리 설정 | 2 |
| 0xA3 | 최소 게이팅 거리 쿼리 | 2 |
| 0xA4 | 최대 게이팅 거리 | 2 |
| 0xA5 | 최대 게이팅 거리 쿼리 | 2 |
| 0xA6 | FPGA 소프트웨어 버전 번호 쿼리 | 4 |
| 0xA7 | MCU 소프트웨어 버전 번호 쿼리 | 4 |
| 0xA8 | 하드웨어 버전 번호 쿼리 | 4 |
| 0xA9 | Sn 번호 쿼리 | 3 |
| 0x90 | 총 조명 출력 시간 | 3 |
| 0x91 | 이번에는 전원이 켜진 시간과 꺼진 시간을 쿼리합니다. | 3 |
1.5 운영과정
거리 측정 모듈의 전원이 켜진 후 기본적으로 대기 모드에 있습니다. 약 0.5초 동안(구동 커패시터 충전 완료) 모듈 전원 스위치를 활성화해야 합니다(power_on 풀업). 그런 다음 아래 6.2의 모든 명령 작업을 수행할 수 있습니다.
2 특정 계약
2.1 장비 자체 점검
2.1.1 레이저 거리 측정 모듈로 보내기:
| 바이트 | 0 | 1 | 2 | 3 | 4 | 5 |
| 설명하다 | 0xEE | 0x16 | 0x02 | 0xA8 | 0x01 | 0x04 |
2.16.2 레이저 거리 측정 모듈 반환:
| 바이트 | 0 | 1 | 2 | 3 | 4 | 5 | 6 | 7 | 8 | 9 |
| 설명하다 | 0xEE | 0x16 | 0x06 | 0xA8 | 0x01 | 상태3 | 상태2 | 상태1 | 상태0 | 체크섬 |
| Status3: ReservedStatus2: 에코 강도 0x00~0xFFStatus1: bit0 -- FPGA 시스템 상태; 1 정상 0 예외비트1 -- 레이저 광 출력 상태; 1 광 출력 0 광 없음bit2 - 주요 파동 감지 상태; 1 메인 웨이브 0 메인 웨이브 없음bit3 - 에코 감지 상태; 1 echo 0 no echobit4 - 바이어스 스위치 상태; 1 바이어스 온 0 바이어스 오프bit5 -- 바이어스 출력 상태; 1 바이어스 전압이 정상입니다. 0 바이어스 비정상입니다.bit6 - 온도 상태; 1 온도가 정상입니다. 0 온도가 비정상입니다. bit7 - 조명 출력이 꺼진 상태입니다. 1 유효 0 무효Status0: 비트0 - 5v6 전원 상태; 정상 1개 예외 0개 | ||||||||||
2.2 단일 범위
2.2.1 레이저 거리 측정 모듈로 보내기:
| 바이트 | 0 | 1 | 2 | 3 | 4 | 5 |
| 설명하다 | 0xEE | 0x16 | 0x02 | 0xA8 | 0x02 | 0x05 |
2.2.2 레이저 거리 측정 모듈 반환:
| 바이트 | 0 | 1 | 2 | 3 | 4 | 5 | 6 | 7 | 8 | 9 |
| 설명하다 | 0xEE | 0x16 | 0x06 | 0xA8 | 0x02 | 상태 | 범위 지정 값 정수 상위 8비트 | 범위 값 정수 하위 8비트 | 범위 값 소수점 이하 자릿수 | 체크섬 |
| 첫 번째/마지막 대상 범위 지정 시:Status: 0x00은 범위 지정 결과가 단일 대상임을 나타냅니다. 0x01은 거리 측정 결과에 앞쪽 대상이 있음을 나타냅니다. 0x02는 거리 측정 결과에 후방 표적이 있음을 나타냅니다. 0x03 예약됨; 0x04는 범위 지정 결과가 범위를 벗어났음을 나타냅니다. 0x05 예약됨; 다중 대상 범위 지정의 경우:Status_ 비트3~0: 0x0은 범위 지정 결과가 단일 대상임을 나타냅니다. 0x1은 거리 측정 결과에 앞쪽 대상이 있음을 나타냅니다. 0x2는 거리 측정 결과에 후방 표적이 있음을 나타냅니다. 0x3은 거리 측정 결과에 전면 타겟과 후면 타겟이 있음을 나타냅니다. 0x4는 범위 지정 결과가 범위를 벗어났음을 나타냅니다. 0x5 예약됨;Status_ bit7~4: 0x0 ~ 0xf는 현재 거리 결과 번호를 나타냅니다. 값 범위 [0, N-1], 대상 수 1 ≤ N ≤ 16; 범위 값 = 범위 값 정수 상위 8비트 × 256 + 범위 값 정수 하위 8비트 + 범위 값 소수 비트 × 0.1, 단위 m | ||||||||||
2.3 첫 번째/마지막/여러 대상 설정
2.3.1 레이저 거리 측정 모듈로 보내기:
| 바이트 | 0 | 1 | 2 | 3 | 4 | 5 | 6 |
| 설명하다 | 0xEE | 0x16 | 0x03(데이터 길이) | 0xA8 | 0xA8 | 목표 | 체크섬 |
| Target:0x01 첫 번째 목표 범위를 설정합니다. 0x02 터미널 대상 범위 설정; 0x03 다중 대상 범위 설정; | |||||||
2.3.2 레이저 거리 측정 모듈 반환:
| 바이트 | 0 | 1 | 2 | 3 | 4 | 5 |
| 설명하다 | 0xEE | 0x16 | 0x02 | 0xA8 | 0xA8 | 0x06 |
2.4 연속 범위 지정
2.4.1 레이저 거리 측정 모듈로 보내기:
| 바이트 | 0 | 1 | 2 | 3 | 4 | 5 |
| 설명하다 | 0xEE | 0x16 | 0x02 | 0xA8 | 0xA8 | 0x06 |
2.4.2 레이저 거리 측정 모듈 반환:
| 바이트 | 0 | 1 | 2 | 3 | 4 | 5 | 6 | 7 | 8 | 9 |
| 설명하다 | 0xEE | 0x16 | 0x06 | 0xA8 | 0x04 | 상태 | 범위 지정 값 정수 상위 8비트 | 범위 값 정수 하위 8비트 | 범위 값 소수점 이하 자릿수 | 체크섬 |
| 첫 번째 및 마지막 대상의 범위를 지정하는 경우: 상태: 0x00은 범위 지정 결과가 단일 대상임을 나타냅니다. 0x01은 거리 측정 결과에 앞쪽 대상이 있음을 나타냅니다. 0x02는 거리 측정 결과에 후방 표적이 있음을 나타냅니다. 0x03 예약됨; 0x04는 범위 지정 결과가 범위를 벗어났음을 나타냅니다. 0x05 예약됨; 다중 대상 범위 지정의 경우:Status_ 비트3~0: 0x0은 범위 지정 결과가 단일 대상임을 나타냅니다. 0x1은 거리 측정 결과에 앞쪽 대상이 있음을 나타냅니다. 0x2는 거리 측정 결과에 후방 표적이 있음을 나타냅니다. 0x3은 거리 측정 결과에 전면 타겟과 후면 타겟이 있음을 나타냅니다. 0x4는 범위 지정 결과가 범위를 벗어났음을 나타냅니다. 0x5 예약됨;Status_ bit7~4: 0x0 ~ 0xf는 현재 거리 결과 번호를 나타냅니다. 값 범위 [0, N-1], 대상 수 1 ≤ N ≤ 16; | ||||||||||
2.5 범위 지정 중지
2.5.1 레이저 거리 측정 모듈로 보내기:
| 바이트 | 0 | 1 | 2 | 3 | 4 | 5 |
| 설명하다 | 0xEE | 0x16 | 0x02 | 0xA8 | 0x05 | 0x08 |
2.5.2 레이저 거리 측정 모듈 반환:
| 바이트 | 0 | 1 | 2 | 3 | 4 | 5 |
| 설명하다 | 0xEE | 0x16 | 0x02 | 0xA8 | 0x05 | 0x08 |
2.6 범위 이상
레이저 거리 측정 모듈 반환:
| 바이트 | 0 | 1 | 2 | 3 | 4 | 5 | 6 | 7 | 8 | 9 | |
| 설명하다 | 0xEE | 0x16 | 0x06 | 0xA8 | 0x06 | 예약하다 | 예약하다 | 예약하다 | 상태1 | 체크섬 | |
| Status1: bit0 - FPGA 시스템 상태; 1 정상 0 예외 Bit1 - 레이저 광 출력 상태; 1 빛 출력 0 빛 없음 Bit2 - 주파 감지 상태; 1 메인 웨이브 0 메인 웨이브 없음 Bit3 - 에코 감지 상태; 1 에코 0 에코 없음 Bit4 - 바이어스 스위치 상태; 1 바이어스 온 0 바이어스 오프 Bit5 - 바이어스 출력 상태; 1 바이어스 전압이 정상입니다. 0 바이어스 비정상입니다. Bit6 - 온도 상태; 1 온도가 정상입니다. 0 온도가 비정상입니다. Bit7 - 조명 출력 꺼짐 상태; 1 유효 0은 유효하지 않음 이 명령은 상태 1의 비트 0~7이 비정상인 경우에만 반환됩니다. | |||||||||||
2.7 레이저 거리 측정 모듈의 전송 속도 설정
2.7.1 레이저 거리 측정 모듈로 보내기:
| 바이트 | 0 | 1 | 2 | 3 | 4 | 5 | 6 | 7 | 8 | 9 |
| 설명하다 | 0xEE | 0x16 | 0x06 | 0xA8 | 0xA0 | 보드하이24 | 보드하이16 | BaudLow8 | 보드낮음0 | 체크섬 |
2.7.2 레이저 거리 측정 모듈 반환:
| 바이트 | 0 | 1 | 2 | 3 | 4 | 5 | 6 | 7 | 8 | 9 |
| 설명하다 | 0xEE | 0x16 | 0x06 | 0xA8 | 0xA0 | 보드하이24 | 보드하이16 | BaudLow8 | 보드낮음0 | 체크섬 |
2.8 연속 범위 주파수 설정
2.8.1 레이저 거리 측정 모듈로 보내기:
| 바이트 | 0 | 1 | 2 | 3 | 4 | 5 | 6 | 7 |
| 설명하다 | 0xEE | 0x16 | 0x04(데이터 길이) | 0xA8 | 0x0A1 | 주파수 | 숫자 | 체크섬 |
| Freq: 0x01~0x0A 단일/연속 범위 주파수Num:0x00 예약 | ||||||||
2.8.2 레이저 거리 측정 모듈 반환:
| 바이트 | 0 | 1 | 2 | 3 | 4 | 5 |
| 설명하다 | 0xEE | 0x16 | 0x02 | 0xA8 | 0xA1 | 0xA4 |
2.9 최소 게이팅 거리 설정
2.9.1 레이저 거리 측정 모듈로 보내기:
| 바이트 | 0 | 1 | 2 | 3 | 4 | 5 | 6 | 7 |
| 설명하다 | 0xEE | 0x16 | 0x04(데이터 길이) | 0xA8 | 0xA2 | 접시 | DIS_L | 체크섬 |
| DIS_H: 상위 거리 8비트DIS_L: 거리 하위 8비트DIS: 10~20000 최소 게이팅 거리 범위(M 단위) | ||||||||
2.9.2 레이저 거리 측정 모듈 반환:
| 바이트 | 0 | 1 | 2 | 3 | 4 | 5 | 6 | 7 |
| 설명하다 | 0xEE | 0x16 | 0x04(데이터 길이) | 0xA8 | 0xA2 | 접시 | DIS_L | 체크섬 |
| DIS_H: 상위 거리 8비트DIS_L: 거리 하위 8비트DIS: 10~20000 최소 게이팅 거리 범위(M 단위) | ||||||||
2.10 최소 게이팅 거리 쿼리
2.11.1 레이저 거리 측정 모듈로 보내기:
| 바이트 | 0 | 1 | 2 | 3 | 4 | 5 |
| 설명하다 | 0xEE | 0x16 | 0x02 | 0xA8 | 0xA3 | 0xA6 |
2.10.2 레이저 거리 측정 모듈 반환:
| 바이트 | 0 | 1 | 2 | 3 | 4 | 5 | 6 | 7 |
| 설명하다 | 0xEE | 0x16 | 0x04(데이터 길이) | 0xA8 | 0xA3 | 접시 | DIS_L | 체크섬 |
| DIS_H: 상위 거리 8비트DIS_L: 거리 하위 8비트DIS: 10~20000 최소 게이팅 거리 범위(M 단위) | ||||||||
2.11 최대 게이팅 거리 설정
2.11.1 레이저 거리 측정 모듈로 보내기:
| 바이트 | 0 | 1 | 2 | 3 | 4 | 5 | 6 | 7 |
| 설명하다 | 0xEE | 0x16 | 0x04(데이터 길이) | 0xA8 | 0xA4 | 접시 | DIS_L | 체크섬 |
| DIS_H: 상위 거리 8비트DIS_L: 거리 하위 8비트DIS: 10~20000 최소 게이팅 거리 범위(M 단위) | ||||||||
| 바이트 | 0 | 1 | 2 | 3 | 4 | 5 | 6 | 7 |
| 설명하다 | 0xEE | 0x16 | 0x04(데이터 길이) | 0x03 | 0xA4 | 접시 | DIS_L | 체크섬 |
| DIS_H: 상위 거리 8비트DIS_L: 거리 하위 8비트DIS: 10~20000 최소 게이팅 거리 범위(M 단위) | ||||||||
2.12 최대 게이팅 거리 쿼리
2.12.1 레이저 거리 측정 모듈로 보내기:
| 바이트 | 0 | 1 | 2 | 3 | 4 | 5 |
| 설명하다 | 0xEE | 0x16 | 0x02 | 0xA8 | 0xA5 | 0xA8 |
| 바이트 | 0 | 1 | 2 | 3 | 4 | 5 | 6 | 7 |
| 설명하다 | 0xEE | 0x16 | 0x04(데이터 길이) | 0x03 | 0xA5 | 접시 | DIS_L | 체크섬 |
| DIS_H: 상위 거리 8비트DIS_L: 거리 하위 8비트DIS: 10~20000 최소 게이팅 거리 범위(M 단위) | ||||||||
2.13 FPGA 소프트웨어 버전 번호 쿼리
2.13.1 레이저 거리 측정 모듈로 보내기:
| 바이트 | 0 | 1 | 2 | 3 | 4 | 5 |
| 설명하다 | 0xEE | 0x16 | 0x02 | 0xA8 | 0xA6 | 0xA9 |
2.13.2 레이저 거리 측정 모듈 반환:
| 바이트 | 0 | 1 | 2 | 3 | 4 | 5 | 6 | 7 | 8 | 9 |
| 설명하다 | 0xEE | 0x16 | 0x06 | 0xA8 | 0xA6 | 버전 | 날짜 | 월년 | 작가 | 체크섬 |
| 버전: bit7~bit4 주요 버전 번호(1~15) bit3~bit0 부 버전 번호(0~15) 예: 0x10——V1.0Data: 날짜(1~31)MonYear: bit7~bit4 월(1~12)bit3~bit0 특정 연도(0~15), 2020-2035에 해당 작성자: 0x6c cliu; 0x5d dwu 0xcc 사이쳉 | ||||||||||
2.14 MCU 소프트웨어 버전 번호 쿼리
2.14.1 레이저 거리 측정 모듈로 보내기:
| 바이트 | 0 | 1 | 2 | 3 | 4 | 5 |
| 설명하다 | 0xEE | 0x16 | 0x02 | 0x03 | 0xA7 | 0xAA |
| 바이트 | 0 | 1 | 2 | 3 | 4 | 5 | 6 | 7 | 8 | 9 |
| 설명하다 | 0xEE | 0x16 | 0x06 | 0xA8 | 0xA7 | 버전 | 날짜 | 월년 | 작가 | 체크섬 |
| 버전: bit7~bit4 메이저 버전 번호(1~15) bit3~bit0 마이너 버전 번호(0~15) 예: 0x10——V1.0Data: 날짜(1~31) MonYear: bit7~bit4 월(1~12) bit3~bit0 특정 연도(0~15A), 2020-2035에 해당 작성자: 0x00 jyang 0xf1 llfu 0x01 zqxiong | ||||||||||
2.15 하드웨어 버전 번호 쿼리
2.15.1 레이저 거리 측정 모듈로 보내기:
| 바이트 | 0 | 1 | 2 | 3 | 4 | 5 |
| 설명하다 | 0xEE | 0x16 | 0x02 | 0xA8 | 0xA8 | 0xAB |
2.15.2 레이저 거리 측정 모듈 반환:
| 바이트 | 0 | 1 | 2 | 3 | 4 | 5 | 6 | 7 | 8 | 9 | |
| 설명하다 | 0xEE | 0x16 | 0x06 | 0xA8 | 0xA8 | MBVS | CTV | APDVS | LDVS | 체크섬 | |
| MBVS: 마더보드 하드웨어 버전 번호CTVS: 제어 보드 하드웨어 버전 번호Apdvs: 감지 보드 하드웨어 버전 번호LDVS: 드라이버 보드 하드웨어 버전 번호 Bit7 ~ bit4 메이저 버전 번호(1 ~ 15) bit3 ~ bit0 마이너 버전 번호(0 ~ 15) 예:0x10——V1. 0 | |||||||||||
2.16 Sn 번호 조회
2.16.1 레이저 거리 측정 모듈로 보내기:
| 바이트 | 0 | 1 | 2 | 3 | 4 | 5 |
| 설명하다 | 0xEE | 0x16 | 0x02 | 0xA8 | 0xA9 | 0xAC |
2.16.2 레이저 거리 측정 모듈 반환:
| 바이트 | 0 | 1 | 2 | 3 | 4 | 5 | 6 | 7 | 8 |
| 설명하다 | 0xEE | 0x16 | 0x05 | 0xA8 | 0xA9 | 월년 | Num_H | APDVS | 체크섬 |
| Monyear: bit7 ~ bit4 월(1 ~ 12) Bit3 ~ bit0 년(0 ~ 15), 2020 ~ 2035에 해당Num_ H: 숫자는 높은 8자리Num_ 50: No의 하위 8자리Num: 1 ~ 999 No | |||||||||
2.17 총 조명 출력 횟수
2.17.1 레이저 거리 측정 모듈로 보내기:
| 바이트 | 0 | 1 | 2 | 3 | 4 | 5 |
| 설명하다 | 0xEE | 0x16 | 0x02 | 0xA8 | 0x90 | 0x93 |
| 바이트 | 0 | 1 | 2 | 3 | 4 | 5 | 6 | 7 | 8 |
| 설명하다 | 0xEE | 0x16 | 0x05 | 0x03 | 0x90 | PNUM3 | PNUM2 | PNUM1 | 체크섬 |
| PNUM3: 총 조명 출력 시간, bit23 ~ bit16PNUM2: 총 조명 출력 시간, bit15 ~ bit8PNUM1: 총 조명 출력 시간, bit7 ~ bit0 | |||||||||
2.18 이번에는 전원 켜기 및 끄기 시간을 쿼리합니다.
2.18.1 레이저 거리 측정 모듈로 보내기:
| 바이트 | 0 | 1 | 2 | 3 | 4 | 5 |
| 설명하다 | 0xEE | 0x16 | 0x02 | 0xA8 | 0x91 | 0x94 |
2.18.2 레이저 거리 측정 모듈 반환:
| 바이트 | 0 | 1 | 2 | 3 | 4 | 5 | 6 | 7 | 8 |
| 설명하다 | 0xEE | 0x16 | 0x05 | 0xA8 | 0x91 | PNUM3 | PNUM2 | PNUM1 | 체크섬 |
| PNUM3: 총 조명 출력 시간, bit23 ~ bit16PNUM2: 총 조명 출력 시간, bit15 ~ bit8PNUM1: 총 조명 출력 시간, bit7 ~ bit0 | |||||||||
3 지시 예
| 3.1 장비 자체 검사SEND: ee 16 02 03 01 04RECV: ee 16 06 03 01 ff 00 f7 ff f9 | 3.5 첫 번째 목표 설정SEND: ee 16 03 03 03 01 07RECV: ee 16 02 03 03 06 |
| 3.2 단일 범위 지정SEND: ee 16 02 03 02 05RECV: ee 16 06 03 02 04 00 00 00 09 | 3.6 최종 목표 설정SEND: ee 16 03 03 03 02 08 RECV: ee 16 02 03 03 06 |
| 3.3 연속 범위 지정SEND: ee 16 02 03 04 07RECV: ee 16 06 03 04 04 00 00 00 0bRECV: ee 16 06 03 04 04 00 00 00 0bRECV: … | 3.7 여러 대상 설정SEND: ee 16 03 03 03 03 09 RECV: ee 16 02 03 03 06 |
| a) 레이저 거리계에 "게이팅 값 설정" 명령을 보냅니다. | 3.8 연속 범위 주파수 1Hz 설정SEND: ee 16 04 03 a1 01 00 a5RECV: ee 16 02 03 a1 a4 |
| 3.9 연속 범위 주파수 5Hz 설정SEND: ee 16 04 03 a1 05 00 a9RECV: ee 16 02 03 a1 a4 |
1. STA-AM30X 소형 레이저 거리 측정기 제품의 다양한 기능을 작업자가 안전하고 올바르게 사용할 수 있도록 본 작동 및 유지 관리 매뉴얼에는 작동 및 유지 관리에 대한 지침이 제공됩니다. 본 제품의 운영자 및 유지보수 담당자에게 적용됩니다.
STA-AM30X 소형 레이저 거리 측정기(이하 레이저 거리 측정기)는 측정 대상을 향해 레이저를 발사하고 레이저 비행 시간을 기준으로 거리 정보를 계산하는 정밀 광전자 제품입니다. 이 레이저 거리 측정기는 Uart(TTL_3.3V) 통신 인터페이스를 통해 통신을 구현하며 뛰어난 성능과 간단한 조작이 특징입니다. 이 거리계의 레이저는 사람의 눈에 직접 노출되는 것이 금지되어 있습니다.
2.1 재료 권장사항
광학창 소재로는 광학유리 H-K9L을 권장합니다. H-K9L은 가장 일반적인 무색 광학 유리로 300nm~2100nm의 레이저 범위에 적합합니다. 그것은 높은 비용 대비 성능 비율과 우수한 물리적 특성을 가지고 있습니다.
2.2 처리 권장 사항
광학 창의 쐐기 각도 공차는 가능한 한 작아야 합니다. 쐐기 각도 공차는 ≤ 3'(공차 등급 ≤ 레벨 7)인 것이 좋습니다.
광학 창의 광학 표면은 최대한 매끄러워야 합니다. 프로파일의 산술 평균 편차(Ra)는 0.012를 권장합니다.
2.3 코팅 권장사항
전체 시스템 통합에서 윈도우 렌즈를 사용하는 경우 렌즈의 투과율은 1535±20nm 파장 대역에서 98% 이상이고 두께는 2mm 이하인 것이 좋습니다. 렌즈와 모듈 끝면 사이의 거리는 3mm 이하, 요 각도 1.5° 이하, 피치 각도 30° 이하여야 합니다.
1535nm 레이저 거리 측정기의 광학 창에는 1525nm ~ 1545nm 범위의 반사 방지 필름을 99% 이상의 투과율로 코팅하는 것이 좋습니다.
제품의 구체적인 사용 환경에 따라 소수성 필름이나 하드 필름과 같은 다른 보호 필름을 추가로 선택하여 광학 창 외부 표면에 코팅할 수 있습니다. 나머지 지표는 MIL-STD-810G를 참조하고, 투과율은 97% 이상이어야 합니다.
2.4 광학 창의 모양 및 사용에 대한 권장 사항
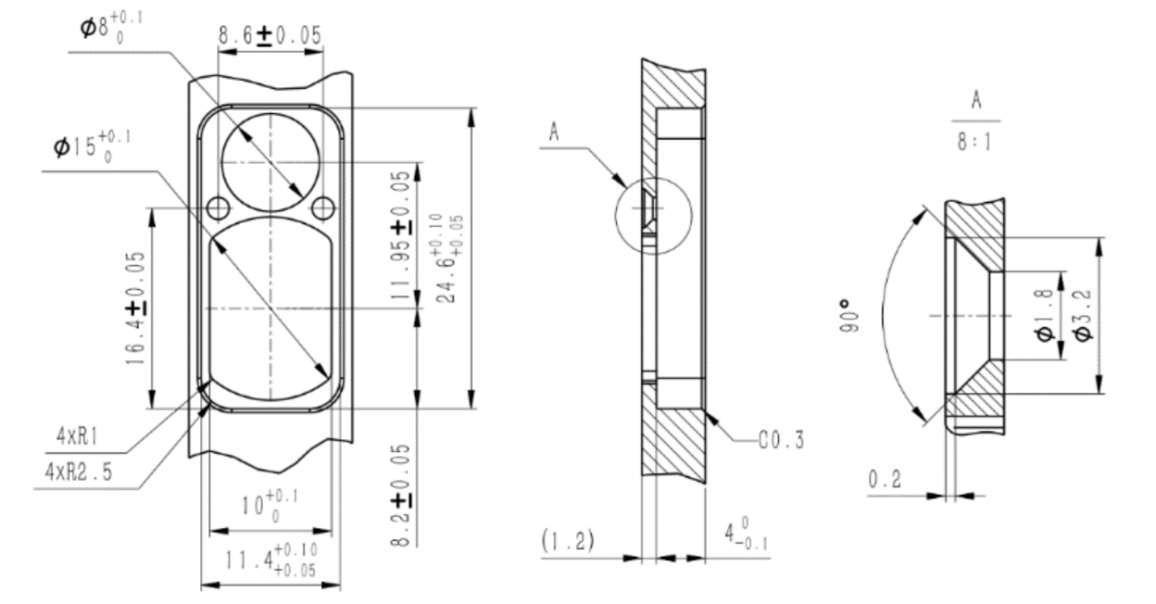
광학창의 유효 조리개는 제품에 따라 다릅니다. 외부 치수는 광학 창의 유효 조리개(광학 창의 외부 직경 ≥ 2mm, 거리 측정기 안테나의 외부 직경) - 광학 창의 유효 조리개의 투영 치수 ≥ 1.5mm를 보장해야 합니다. 개략도는 다음과 같습니다. 광학창은 레이저를 일정하게 흡수하므로 광학창 자체의 두께는 외형치수에 따라 2~4mm 이내로 조절하는 것이 좋습니다.
광학창은 투과율이 높기 때문에 방출 광축과 광학창의 법선 사이의 축 편차를 0°~2° 이내로 제어하는 것이 좋습니다. 광학창과 두 개의 렌즈 배럴의 위치에 대한 개략도는 다음과 같습니다. 동시에 광학창과 거리계 사이의 공극은 가능한 한 작아야 합니다. 그림 4는 두 가지 방식으로 광학 창을 배치하는 개략도를 보여줍니다.
광학창의 유효 조리개 y2 - 광학창의 외경 y1>2mm
거리 측정기 안테나의 외경3-광학 창 y2의 유효 조리개의 투영 크기,>1.5mm
광학창과 거리계 사이의 에어 갭 d는 가능한 작아야 합니다. 광학창의 유효 조리개 x2 - 광학창의 외경 x1>2mm
거리 측정기 안테나의 외경 x3-광학 창 x2의 유효 조리개의 투영 크기,>1.5mm
광학창과 거리계 사이의 공극 d는 가능한 작아야 합니다.
두 가지 외부 치수 및 광학 창 배치에 대한 개략도
3. 작동 이 시스템의 모든 기능을 완전히 이해하고 설치, 작동 및 유지 관리 방법을 올바르게 숙지하려면 이 시스템을 설치하고 사용하기 전에 이 장의 내용을 주의 깊게 읽으십시오.
HAYIR
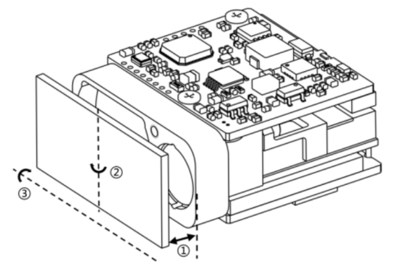
3.1.1 전원을 켜기 전
그림과 같이 레이저 거리 측정기, 디버깅 케이블, DC 전원 공급 장치 및 호스트 컴퓨터를 연결하십시오.
연결의 개략도
3.1.2 전원 켜기
전원 켜기 작업: 전원 공급 장치를 연결합니다.
3.2 전원 끄기 동작
3.2.1 전원을 끄기 전
전원을 끄기 전, 각 제품의 작업과정 및 작업이 종료된 상태인지, 프로그램이 종료되었는지 확인해야 합니다.
3.2.2 전원 끄기
전원 끄기 단계: 전원 공급 장치를 분리합니다.
3.3 작동
3.3.1 범위 지정 모드
범위 모드의 작동 방법:
a) 레이저 거리 측정기에 "단일 범위 지정" 명령을 보냅니다. 레이저 거리 측정기는 단일 거리 측정을 수행하고 거리 측정 상태와 거리 값을 보고합니다.
b) 레이저 거리 측정기에 "1Hz 범위 지정" 명령을 보냅니다. 레이저 거리 측정기는 초당 한 번씩 거리 측정을 수행하고 거리 측정 상태와 거리 값을 보고합니다.
c) 범위 지정을 중지하려면 "범위 지정 중지" 명령을 보냅니다.
d) 레이저 거리 측정기에 "5Hz 범위 지정" 명령을 보냅니다. 레이저 거리 측정기는 초당 5회 거리 측정을 수행하고 거리 측정 상태와 거리 값을 보고합니다.
e) 범위 지정을 중지하려면 "범위 지정 중지" 명령을 보냅니다.
f) 레이저 거리 측정기에 "10Hz 범위 지정" 명령을 보냅니다. 레이저 거리 측정기는 초당 10회 거리 측정을 수행하고 거리 측정 상태와 거리 값을 보고합니다.
g) 범위 지정을 중지하려면 "범위 지정 중지" 명령을 보냅니다.
0xA4
거리 게이팅은 범위 지정 기능 범위 내에서 게이팅 거리(16진수로 표시) 구간을 설정하는 것을 의미합니다. 게이팅 값보다 낮은 타겟 거리 정보는 전송되지 않으며, 측정 범위 내에서 게이팅 값보다 높은 레인징 값이 유효한 레인징 값입니다.
설정이 필요한 경우 동작 방법은 다음과 같습니다.
a) 레이저 거리계에 "게이팅 값 설정" 명령을 보냅니다.
레이저 거리 측정기에 "범위 지정" 명령을 보냅니다. 레이저 거리 측정기는 거리 측정을 수행하고 전송된 거리 값이 거리 게이팅 값보다 큰지 확인한 다음 거리 측정 결과를 보고합니다.
c) 범위 지정 작업을 중지하려면 "범위 지정 중지" 명령을 보냅니다. 거리 게이팅 기능이 필요하지 않은 경우 초기 설정을 수동으로 복원해야 합니다(게이트 값을 0으로 설정).
3.3.3 자가진단 모드
자체 점검의 작동 방법:
a) 레이저 거리계에 "자가 점검 문의" 지침을 보냅니다. 레이저 거리 측정기가 자체 점검을 시작하고 현재 주변 온도 및 작동 상태와 같은 정보를 다시 보냅니다.
4. 점검 및 유지보수
4.1 일반검사
제품을 처음 사용할 때와 리소스 모듈을 교체한 후에는 육안 검사와 전원 켜기 검사를 수행해야 합니다. 정상적으로 사용하는 제품의 경우 사용 전 전원 투입 점검만 필요합니다.
4.1.1 육안검사
육안검사의 단계는 다음과 같습니다.
a) 제품의 외관이 정상적인지 확인하십시오.
b) 케이블 연결에 오류가 있는지 확인하고 연결이 확실해야 합니다.
4.1.2 전원 투입 검사
전원 투입 검사 단계는 다음과 같습니다.
a) 3.1의 단계에 따라 전원 켜기 작업을 완료합니다.
3.3 Drift
c) 검사가 완료된 후 3.2의 단계에 따라 전원 끄기 작업을 완료합니다.
4.2 정기 점검
레이저 거리 측정기는 일반적인 작업 조건에서는 유지 관리가 필요하지 않습니다. 먼지가 없는 환경에서 1년 이상 보관할 경우 유지 관리가 필요합니다. 유지 관리 내용에는 다음이 포함됩니다.
4.2.1 일반검사
제품에 대한 전반적인 점검은 통전되지 않은 상태에서 실시하십시오. 단계는 다음과 같습니다:
a) 제품과 테스트 케이블 플러그(소켓)의 모든 표시와 숫자는 정확하고 명확해야 합니다.
b) 패널의 모든 종류의 나사를 조여야 합니다.
c) 육안으로 제품의 광학유리에 육안으로 관찰시 정상적인 관찰에 지장을 주는 밝은 반점, 곰보, 물얼룩, 곰팡이, 지문, 먼지입자 등의 부착물과 균열이 없는지 확인하여야 한다.
4.2.2 전원 투입 검사
전원이 켜진 상태에서 레이저 거리계에 대한 포괄적인 검사 및 유지 관리를 수행하십시오. 내용은 다음과 같습니다:
a) 제품의 전원을 순차적으로 켜십시오.
b) 3.1의 단계에 따라 전원 켜기 작업을 완료합니다.
c) 제품 자체 테스트 모듈을 시작하고 제품 자체 테스트를 완료합니다.
d) 3.2의 단계에 따라 전원 끄기 작업을 완료합니다.
5. 고장 증상 분석 및 문제 해결 방법
레이저 거리 측정기는 정밀 제품입니다. 결함이 발생하면 결함 분석, 위치 파악 및 수리를 위해 전체 장치를 공장으로 반환해야 합니다. 자가 수리는 허용되지 않습니다.
일반적인 오류 증상과 문제 해결 방법은 다음 표에 나와 있습니다.
일반적인 결함 증상 및 문제 해결 방법
| 결함 증상 | 가능한 이유 | 검사방법 | 문제 해결을 위한 조치 |
| 제품의 전원이 정상적으로 켜지지 않습니다. | a) 전원 공급 장치 및 연결 케이블의 결함.b) 회로 결함. | 전원 공급 장치와 연결 케이블을 확인하십시오. | a) 전원 공급 장치 또는 연결 케이블을 교체하십시오.b) b) 회로 결함이 있는 경우 제조업체에 문의하여 문제 해결에 대한 도움을 받으십시오. |
| 통신 정보를 반환할 수 없습니다. | a) 연결 케이블의 결함b) 비정상적인 전원 공급 c) c) 레이저 거리계의 통신 결함 | a) 연결 케이블이 정상적인지 확인하세요.b) 전원공급이 정상적인지 확인하세요. | a) 연결 케이블과 전원 공급 장치를 교체합니다. b) 통신 문제가 있는 경우 제조업체에 문의하여 문제 해결에 대한 도움을 받으십시오. |
6. 포장, 운송 및 보관 요건
6.1 포장
개봉되어 재입고가 필요한 제품의 경우 원래 포장에 따라 포장해야 합니다. 제품을 공장으로 반품해야 하는 경우, 가능한 한 원래 포장을 사용해야 합니다. 다른 형태의 포장을 사용할 경우, 제품 성능이 저하되거나 제품이 손상되어서는 안 됩니다.
6.2 운송
재포장된 제품은 자동차, 기차, 비행기, 선박 등을 이용하여 운송할 수 있습니다. 운송 중 충격, 거칠게 다루기, 비나 눈에 노출되는 등의 현상이 발생하지 않도록 포장된 물품을 운송수단에 고정해야 합니다. 도로 운송 및 철도 운송 환경에 대해서는 MIL-STD-810G를 참조하십시오.
6.3 저장
재포장된 제품을 야생의 야외에 보관해서는 안 됩니다. 보관온도 0℃ ~ +30℃, 상대습도 80% 이하, 부식성 물질의 침식, 강한 기계적 진동 및 충격, 강한 자기장이 없는 창고에 보관해야 합니다.
본 제품을 안전하게 사용하기 위해서는 제품을 사용하기 전에 본 사용설명서를 잘 읽어보시기 바랍니다.
l 이 레이저 거리 측정기는 정밀 광학 및 기계 제품입니다. 규정을 위반하여 작동하면 위험한 레이저 부상을 초래할 수 있습니다. 레이저 거리 측정기의 어떤 부분도 열거나 조정하지 말고, 레이저 거리 측정기의 성능을 직접 수리하거나 조정하려고 시도하지 마십시오.
l 정전기 방지에 주의하십시오. 레이저 거리계의 전자 부품은 정전기 방전에 민감합니다. 보호 조치 없이 전자 장치를 만지지 마십시오.
l 지정된 전압 및 전력 범위 내에서 작동하려면 레이저 거리계의 전원만 켜십시오.
l 손가락이나 단단한 물체로 광학 렌즈를 만지는 것은 금지되어 있습니다(기름 오염이나 렌즈 긁힘 방지).
l 너무 가까운 거리에서 반사율이 높은 대상을 측정하는 것은 금지되어 있습니다(검출기의 핵심 구성 요소 등의 손상을 방지하기 위해).
l 지정되지 않은 조건(예: 오염이 심한 환경, 보관 온도 범위 초과 등)에서 레이저 거리 측정기를 보관하는 것은 금지되어 있습니다.
l 레이저 거리계에 강한 기계적 충격(진동, 충격, 낙하 등)을 가하는 것은 금지되어 있습니다.
OEM/ODM 1-90km LRF 모듈
심천 Jiguang 기술 Co., Ltd
이메일: sales@jioptics.com
웹사이트:www.jioptics.com
주소: 2017 Longcheng Avenue, Longgang District, Shenzhen